자료좀 부탁드립니다.
tomatomac
토마토맥 since 1998.6
이제 슬슬 옷을 가볍게 입고 다녀야 할거 같네요^^
봄이 왔어요. 꽃 구경하는 재미가 쏙~
MENU
커뮤니티
자유게시판
지역게시판
이미지
모임후기
분실물센터
중고장터
수다방
포인트랭킹 순위
스터디
질문과답
강좌
칼럼
툴앤팁
디자인의뢰
제작의뢰
매거진
토맥매거진
오픈매거진
갤러리
회원작품
추천작품
소스
폰트소스
이미지소스
로고소스
플러그인소스
이미지프리
잡
제작/의뢰
구직
구인
디자인맵
커뮤니티
자유게시판
지역게시판
이미지
모임후기
분실물센터
중고장터
수다방
포인트랭킹 순위
스터디
질문과답
강좌
칼럼
툴앤팁
디자인의뢰
제작의뢰
매거진
토맥매거진
오픈매거진
갤러리
회원작품
추천작품
소스
폰트소스
이미지소스
로고소스
플러그인소스
이미지프리
잡
제작/의뢰
구직
구인
디자인맵
자료좀 부탁드립니다.
석두
일반
0
4,193
2008.09.23 07:03
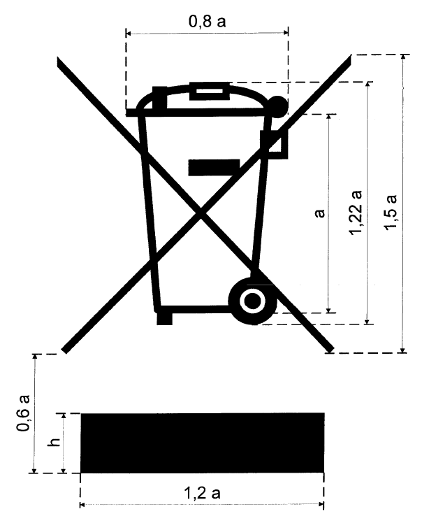
일러 파일이 아닙니다.
Comments
로그인한 회원만 댓글 등록이 가능합니다.
이전
다음
목록
Login
Login
자동로그인
회원가입
|
정보찾기
Category
자유게시판
지역게시판
이미지
모임후기
분실물센터
중고장터
수다방
포인트랭킹 순위
Banner